1月12日,乌兰察布市独立新型储能电站项目投资主体优选结果公示。
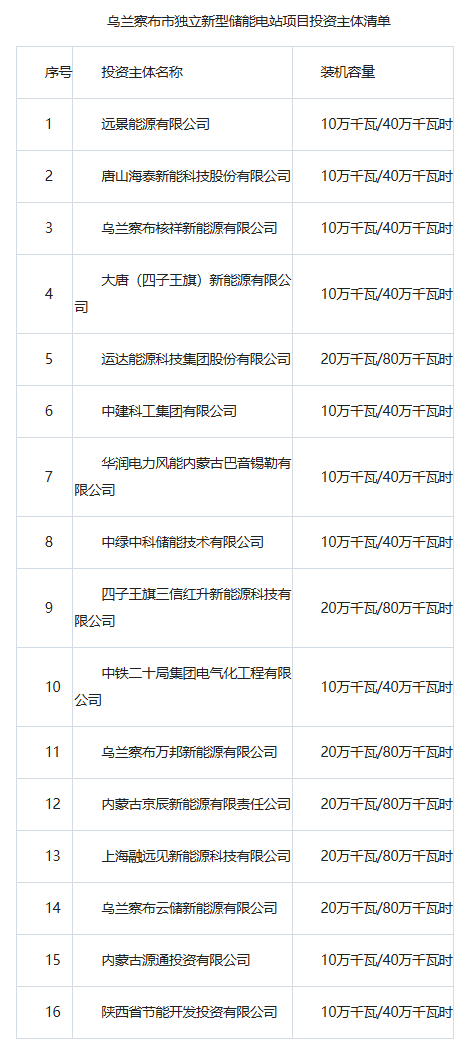
据项目清单,共16个项目,合计2.2GW/8.8GWh,均为4h储能项目,其中10个主体选择建设100MW/400MWh规模项目,6个主体选择建设200MW/800MWh规模项目。
从投资主体来看,核心关联主体包括远景能源、海泰新能、中核南京、大唐、运达能源、中国建筑股份、华润新能源、中国绿发、中国铁道建筑、国家电投、海博思创智储投资、青岛金湖电力、陕西煤业化工等。


乌兰察布市独立新型储能电站项目投资主体优选结果公示
根据《内蒙古自治区独立新型储能电站项目实施细则(暂行)》(内能电力字〔2023〕1101号)和《内蒙古自治区能源局关于组织申报2026年独立新型储能建设项目清单的通知》(内能源电力字〔2025〕753号)文件精神,经第三方服务机构评审优选,形成了乌兰察布市独立新型储能电站项目投资主体清单,现予以公示。
公示期为2026年1月12日—1月14日。
如对公示内容有异议,请在公示期内以书面形式提出意见并反馈至乌兰察布市发展和改革委员会418室电力煤炭科。书面意见请写明提出异议的事实依据和理由,提出异议的单位或个人须对相关书面材料的真实性和可靠性负责。对于非书面形式提出异议,匿名提出异议或无事实依据提出异议的,以及涉及自身不正当利益的诉求,不予受理。
联系人:张鹏磊
电话:0474-8320896
附件

第十四届储能国际峰会暨展览会 (ESIE 2026)已定档于2026年3月31日-4月3日,欢迎关注中关村储能产业技术联盟公众号,期待与您相约北京·首都国际会展中心,共赴ESIE之约。

详情请点击:https://mp.weixin.qq.com/s/0rxhCAzxlpRukahORGbLiQ